10月11日,一则有关知名作家韩寒的消息冲上热搜,有投资人爆料韩寒此前因开“很高兴遇见你”餐厅亏损上亿元,该投资人也亏损上千万元。

据了解,韩寒2014年时曾开过一个餐厅,叫“很高兴遇见你”,因环境文艺格调清新一度火爆,且有大量连锁店遍布全国。但在2018年,“很高兴遇见你”被曝出大批量倒闭。
谈及该餐厅倒闭和失败的原因,该投资人表示,“核心原因就是本末倒置,名气响,但餐品太难吃,到后期就算想改进食品也已无力挽救,因为口碑已经臭了。”
韩寒曾多次为餐厅“撑场”
公开资料显示,“很高兴遇见你”餐厅成立于2014年,第一家店位于上海,随后迅速在全国铺开。“很高兴遇见你”餐厅的公众号在2015年发布一张图显示,该餐厅在当时几乎就已在全国多个城市开业。

在当时,“很高兴遇见你”餐厅极为火爆。前述公众号2015年的一篇文章中介绍,该餐厅在杭州开业时,短短10分钟就被抢光了就餐号:“清晨9点多,已经排了10桌的客人。这还是顺利领到了号,就餐号一经发出,10分钟内抢光,剩下的只有漫长的等待。”
同时,韩寒本人也现身该店,餐厅公众号称韩寒为“店主”,并称该店创多项杭州之最,包括最长等位时间达8小时+、最多等位人数1500人+,最早等位时间07:00等。


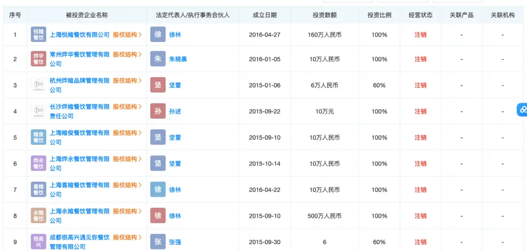
据了解,“很高兴遇见你”餐厅背后的公司为上海烨飨餐饮管理有限公司,天眼查显示该公司主要有两位自然人股东,分别持股80%和20%,韩寒本人并未出现在股东名单之中。


但“很高兴遇见你”餐厅的火爆并未持续太久,在2018年开始大面积关店,并不时传出欠薪、合同纠纷等负面消息。天眼查数据还显示,该公司下属的众多公司目前已基本处于注销状态。

根据此次投资人的爆料,“很高兴遇见你”餐厅倒闭的最大原因还是在于食品难吃。事实上,在本次热搜之下,不少网友也主动爆料称该餐厅的食品很难吃。


而盘点韩寒商业版图发现,目前,韩寒个人共关联14家企业,其中11家为存续状态。韩寒在7家公司担任法定代表人职务,包括上海亭东影业有限公司、上海有树文化传播有限公司等,版图涉及网络科技、文化传播、影业、投资等。其中,亭东影业今年在电影市场表现不错,作为第一出品方的电影《人生路不熟》票房11.8亿元,而电影《长空之王》票房亦有8.5亿元,两部电影在电影五一档占据第一和第二的位置,表现抢眼,而韩寒也是这两部电影的出品人。
据悉,亭东影业成立于2015年,此前投资出品过《四海》《扬名立万》《万万没想到》《乘风破浪》《飞驰人生》等影片。韩寒的《飞驰人生2》今年也已获得立项。
名人开餐厅多以失败告终
近年来,明星和名人涉足餐饮业的情况并不少见,但多数都以失败告终。餐饮是一门无可争议的好生意——刚需、门槛低、利润高、热门品类多,自带流量的明星入场,粉丝线下追星消费,不愁客流,但实际上成功的寥寥无几。
比如陈赫的“贤合庄”、薛之谦的“上上谦”串串香火锅、郑恺的“火凤祥”、黄晓明的“烧江南”、孟非的“孟非的小面”等品牌都曾一度吸引消费者的注意力,但最终都遇到各种各样的问题。
以“贤合庄”为例,该餐饮品牌由演员陈赫、主持人朱桢、歌手叶一茜于2015年共同创办,在开业之初就火遍全国,吸引大量人士投资加盟。有数据显示,贤合庄在明星开的店中表现最为亮眼,截至2020年时,贤合庄门店数量一度超过600家,位居火锅餐饮品牌规模榜第六位。
但在火爆之后,贤合庄火锅店却也迎来了关店潮,加盟商维权的新闻也不时出现。证券时报记者发现,此前曾开遍深圳多个区的贤合庄,目前在深圳就仅剩下一家店仍在营业状态。
中国食品报此前就曾分析指出,明星投资餐饮业,自带流量和品牌效应,前期会吸引大批粉丝消费者,但要拥有长久变现能力,还是要回归到产品和服务本身。当高定价无法与品质匹配,无法在同行内形成差异化竞争优势时,也就撑不起重复购买率,销售量和定价势必出现大幅下滑。还有一个更实在的问题是,不少明星投资餐饮业采取一对多的贴牌经营模式,这种模式圈钱快,但由于店面铺开量大、雇佣人员多、生产线长及管理跨度大,导致质量控制及食品安全风险较高。