核心提示:
1、白象方便面宣传的“多半”实为注册商标,并非指分量增加,引发消费者质疑。
2、除了“多半”外,白象还有“多一半”系列商品,但在电商平台上,某款白象“多一半”方便面只比正常面饼多25%。
3、类似“商标擦边”案例频发(如千禾“0”酱油、简爱“其他没了”酸奶),商家利用描述性词汇注册商标,混淆消费者认知。
——————————————————————————————————
万万没想到,浓眉大眼的白象方便面竟然也玩起了“擦边”。
近日,白象方便面因商标问题引发争议,其宣传标语“多半袋面”中的“多半”被曝仅为商标名称,而非消费者理解的“分量更多”。
这一事件再次将“擦边商标”现象推向风口浪尖。此前千禾酱油陷入“千禾 0”风波,广东壹号食品推出“壹号土”猪肉——消费者乍看会误以为是“土猪肉”;还有“山里来的土鸡蛋”,实则“山里来的土”是注册商标;简爱酸奶的“其他没了”,同样属于商标范畴。
此类现象在食品行业屡见不鲜,背后折射出企业过度逐利与消费者权益保护之间的深层矛盾。
白象“多半”桶面只是商标
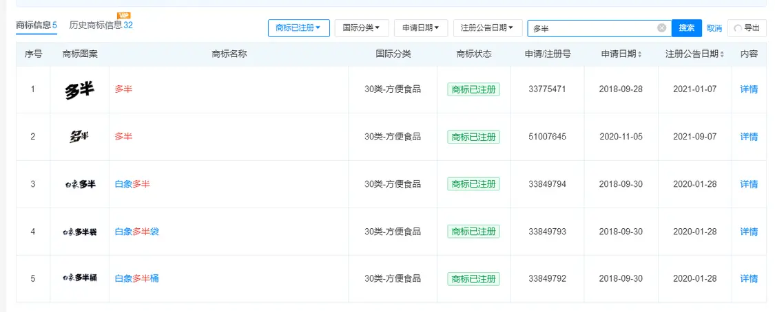
近日,有网友发视频质疑,白象方便面的宣传标语“多半袋面”中的“多半”实际上是商标,并非重量多了半袋。
凤凰网《风暴眼》查询白象公司商标发现,“多半”确实是公司商标,而且不只是“多半”,还有“白象多半”、“白象多半袋”、“白象多半桶”也均为白象公司所注册的商标。

但白象所申请的“多半袋”、“多半桶”等商标被驳回,处于无效状态。

对于“多半”的情况,白象官方客服对凤凰网《风暴眼》表示“多半”是系列名称,对于是否是消费者所理解的“多半桶”的意思,该客服并未答复。
凤凰网《风暴眼》发现,以白象多半香辣口味为例,·白象重量为面饼+配料共140g,其中面饼重120g,120g*5售价14.9元,与之对比,市面上另一款知名品牌的香辣味大面饼款产品的重量为140g,面饼重量亦为120g,二者几乎无差。

除了“多半”,在电商平台上,白象还有“多一半”方便面,客服表示,面饼重100g,而正常面饼是80g,“多一半”只比正常面饼多20g。

只是,白象并未有“多一半”的商标,此前申请的“多一半”商标无效。

资料显示,白象食品股份有限公司正式创建于1997年,是一家以生产销售优质面制品为主、以提升人民美好生活为宗旨的综合性食品企业。目前,白象食品已在河南、河北、山东、四川、吉林、山西等10个省布局12个优质面制品生产基地旗下设有分子公司20余家。
天眼查数据显示,白象食品目前已经完成了B+轮融资,投资方不乏有复星集团、广发证券等明星资本。

擦边商标何时休?
事实上,此类擦边商标并非个例。
此前千禾酱油陷入“千禾 0”风波,广东壹号食品推出“壹号土”猪肉——消费者乍看会误以为是“土猪肉”;还有“山里来的土鸡蛋”,实则“山里来的土”是注册商标;简爱酸奶的“其他没了”,同样属于商标范畴。

这些商标的共性,是商家利用消费者的认知习惯,将描述性词汇注册为商标,通过混淆视听的方式误导消费。
而其本质是商家逐利心理的过度膨胀。在竞争激烈的行业环境中,部分企业为抢占市场份额,抓住消费者对高品质商品的追求心理,刻意通过概念夸大与宣传包装,以模糊表述实施消费误导,完全忽视了对消费者知情权的保障。
从法律层面看,《商标法》规定,企业申请和使用商标应遵循诚实信用原则,不得误导消费者。《食品安全国家标准预包装食品标签通则》也要求标签内容真实客观。
这些擦边商标显然与法律精神相悖。
值得关注的是,这类商品往往附着较高溢价,成为商家获取超额利润的手段。当下不少中产群体为追求 “零添加” 等消费升级体验,即便承担价格压力也愿意买单,却可能在无形中落入商家预设的消费陷阱。
试想,消费者满心期待购买到分量更足、品质更好的商品,却发现被商标 “文字游戏” 欺骗。长此以往,消费者对品牌的信任将大打折扣,整个市场的信誉也将受到影响。
以白象为例,这个长期被视作品牌标杆的企业,曾因向残障人士提供平等就业机会而备受赞誉。这种对社会弱势群体的切实关怀,不仅构筑起 “有温度” 的品牌形象,更以 “身正为范” 的社会责任担当,赢得了消费者发自肺腑的认同与口碑。
然而,当 “多半” 被曝实为商标而非分量承诺后,舆论场的质疑声浪骤然涌起。
有网友直言“白象你是有点飘了”,也有人感慨“白象,你也跟我玩心眼”,更有评论痛陈“白象忘了自己是怎么火的,现在想凉了”。甚至有消费者表示“自从知道这个多半袋是商标后,白象已经是我人生的黑名单了”。

这些声音背后,折射的是公众对品牌诚信的高期待与现实落差间的强烈碰撞。
商标,本应是一个商家通过语文功底尽情展示自己品牌的好机会,在白象这波操作中却变成了容易让消费者混淆为份量多一半的数字游戏。
企业当明白,唯有以扎实的品控为基石,以透明的信息披露为准则,才能在市场中建立真正的品牌公信力。
毕竟,食品安全的底线不容试探,消费者的权益不容透支,任何试图以话术替代品质的经营理念,终究会在市场规律面前现出原形。